14.
.
(We compare the shaded region for set A with the shaded region for
and then take their intersection).

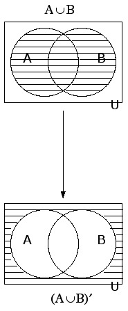
15. ![]()
This diagram will shade everything that is outside of
.

16. ![]()
We need to compare the Venn diagram for
with the Venn diagram for
and take their intersection.
